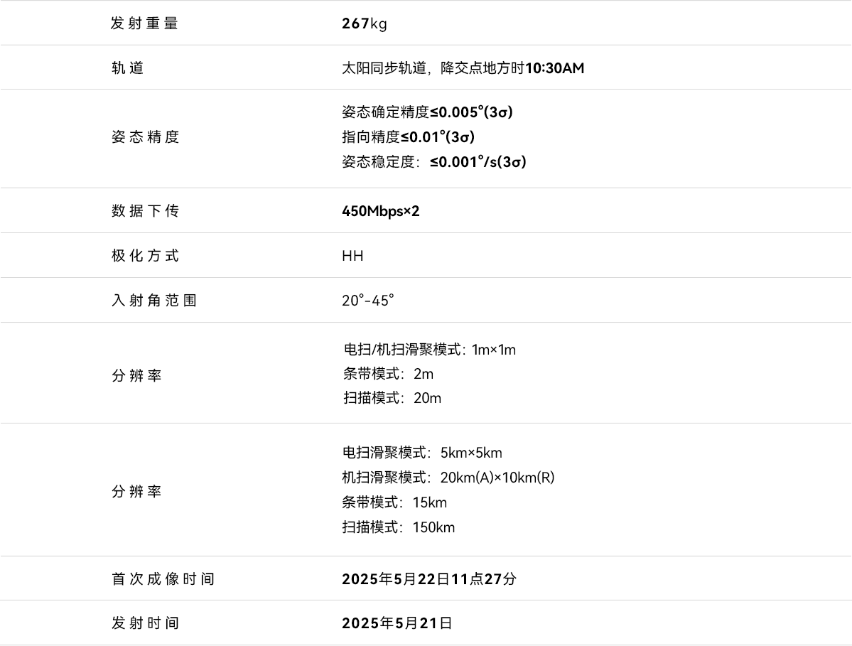
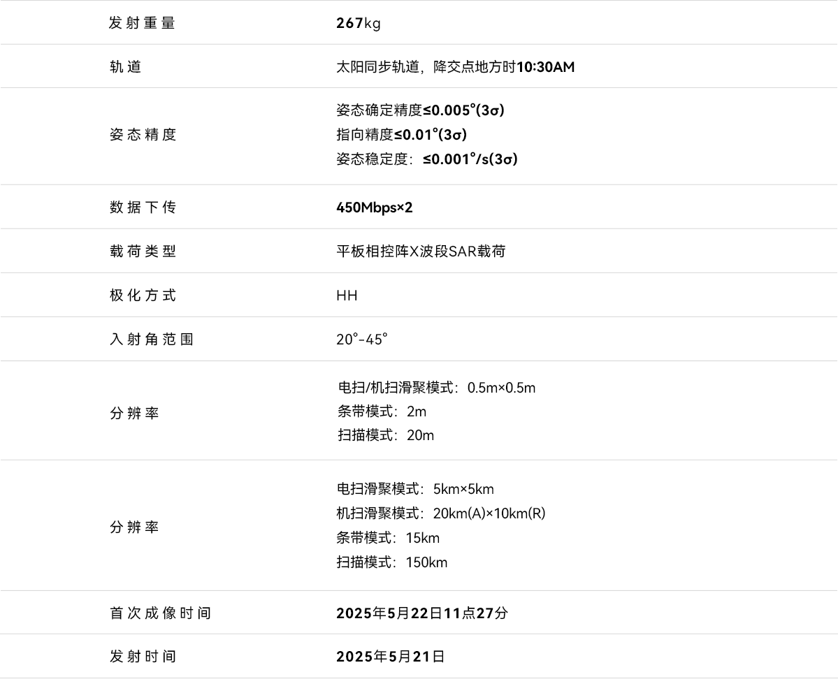
泰景四号02A星

泰景四号02A星是一颗高分辨率平板式SAR卫星,图像分辨率达到亚米级,最大成像幅宽优于240km,具备聚束、滑动聚、条带、TOPS、扫描等多种成像模式。卫星利用合成孔径雷达高分成像能力和微小卫星敏捷机动优势,有效解决“看得清、看得广”问题。

功能特征
规格参数